Mga kategorya: Itinatampok na Mga Artikulo » Praktikal na Elektronika
Bilang ng mga tanawin: 368329
Mga puna sa artikulo: 5
Mga scheme ng mga amateur frequency Converter
Ang isa sa mga unang circuit ng inverter para sa kapangyarihan ng isang three-phase motor ay nai-publish sa magazine ng Radyo No. 11 ng 1999. Ang Scheme developer M. Mukhin sa oras na iyon ay isang mag-aaral ng grade 10 at nakikibahagi sa isang bilog sa radyo.
Ang converter ay inilaan upang mabigyan ng kapangyarihan ang miniature three-phase motor DID-5TA, na ginamit sa makina para sa pagbabarena ng mga nakalimbag na circuit board. Dapat pansinin na ang dalas ng operating ng makina na ito ay 400Hz, at ang supply ng boltahe ay 27V. Bilang karagdagan, ang midpoint ng motor (kapag kumokonekta sa mga paikot-ikot na may "bituin") ay inilabas, na naging posible upang lubos na gawing simple ang circuit: kinuha lamang ang tatlong signal ng output, at ang bawat yugto ay nangangailangan lamang ng isang output key. Ang generator circuit ay ipinapakita sa Figure 1.
Tulad ng nakikita mo mula sa diagram, ang converter ay binubuo ng tatlong bahagi: isang three-phase urutan pulse generator-generator sa DD1 ... DD3 microcircuits, tatlong mga susi sa composite transistors (VT1 ... VT6) at ang electric motor M1 mismo.
Ipinapakita ng Figure 2 ang mga diagram ng tiyempo ng mga pulses na nabuo ng generator ng generator. Ang master oscillator ay ginawa sa chip DD1. Gamit ang risistor R2, maaari mong itakda ang nais na bilis ng engine, pati na rin baguhin ito sa loob ng ilang mga limitasyon. Ang mas detalyadong impormasyon tungkol sa circuit ay matatagpuan sa itaas na log. Dapat pansinin na, ayon sa modernong terminolohiya, ang mga naturang generator ay tinatawag na mga controllers.
Larawan 1

Larawan 2. Mga diagram ng oras ng mga generator ng pulses.
Batay sa magsusupil A. Dubrovsky mula sa lungsod ng Novopolotsk, rehiyon ng Vitebsk. Ang disenyo ng isang variable frequency drive para sa isang engine na pinalakas ng 220V AC ay binuo. Ang diagram ng circuit ay nai-publish sa journal Radio 2001. Bilang 4.
Sa pamamaraan na ito, halos hindi nagbabago, ang nasuri na magsusupil ay ginagamit ayon sa pamamaraan ni M. Mukhin. Ang output signal mula sa mga elemento DD3.2, DD3.3 at DD3.4 ay ginagamit upang makontrol ang mga output key A1, A2, at A3, kung saan konektado ang electric motor. Ipinapakita ng diagram ang key A1, ang natitira ay magkapareho. Ang isang kumpletong diagram ng aparato ay ipinapakita sa Larawan 3.
Larawan 3
Pagkonekta sa motor sa output ng isang three-phase inverter
Upang maging pamilyar sa koneksyon ng engine sa mga susi ng output, ito ay nagkakahalaga ng pagsasaalang-alang sa isang pinasimple na diagram na ipinakita sa Larawan 4.

Larawan 4
Ang figure ay nagpapakita ng motor M, na kinokontrol ng mga susi V1 ... V6. Ang mga elemento ng semiconductor upang gawing simple ang circuit na ipinakita sa anyo ng mga contact sa makina. Ang electric motor ay pinalakas ng isang palaging boltahe na Ud na nakuha mula sa rectifier (hindi ipinapakita sa figure). Sa kasong ito, ang mga pindutan ng V1, V3, V5 ay tinatawag na itaas, at mas mababa ang mga pindutan ng V2, V4, V6.
Ito ay lubos na halata na ang pagbubukas ng itaas at mas mababang mga susi sa parehong oras, lalo na sa mga pares na V1 & V6, V3 & V6, V5 & V2, ay ganap na hindi katanggap-tanggap: isang maikling circuit ang magaganap. Samakatuwid, para sa normal na operasyon ng naturang isang pangunahing pamamaraan, kinakailangan na sa oras na mabuksan ang mas mababang susi, ang sarado na susi ay sarado na. Hanggang dito, ang mga Controller ay bumubuo ng isang pause, na madalas na tinutukoy bilang isang "patay na zone".
Ang laki ng pag-pause na ito ay tulad ng upang matiyak ang garantisadong pagsasara ng mga transistor ng kuryente. Kung ang pag-i-pause na ito ay hindi sapat, posible na madaling buksan ang itaas at mas mababang mga pindutan nang sabay. Ito ay nagiging sanhi ng init transistor na init, madalas na humahantong sa kanilang pagkabigo. Ang sitwasyong ito ay tinawag sa pamamagitan ng mga alon.
Balik tayo sa circuit na ipinakita sa Larawan 3. Sa kasong ito, ang mga itaas na switch ay mga transistor 1VT3, at ang mas mababang mga 1VT6. Madaling makita na ang mas mababang mga susi ay galvanically konektado sa control aparato at sa kanilang sarili.Samakatuwid, ang control signal mula sa output 3 ng elemento DD3.2 sa pamamagitan ng mga resistors 1R1 at 1R3 ay pinapakain nang direkta sa base ng pinagsama-samang transistor 1VT4 ... 1VT5. Ang composite transistor na ito ay walang iba kundi isang mas mababang key driver. Eksakto din mula sa mga elemento na DD3, DD4, ang mga composite transistors ng mas mababang key driver ng mga channel A2 at A3 ay kinokontrol. Ang lahat ng tatlong mga channel ay pinalakas ng parehong rectifier. sa tulay ng diode VD2.
Ang itaas na mga susi ng komunikasyon ng galvanic na may isang karaniwang wire at aparato ng kontrol ay walang, samakatuwid, upang makontrol ang mga ito, bilang karagdagan sa driver, sa isang composite transistor 1VT1 ... 1VT2, isang karagdagang optocoupler 1U1 ay kailangang mai-install sa bawat channel. Ang output optocoupler transistor sa circuit na ito ay gumaganap din ng pag-andar ng isang karagdagang inverter: kapag ang output 3 ng elemento ng DD3.2 ay isang mataas na antas, ang transistor ng itaas na switch 1VT3 ay bukas.
Ang isang hiwalay na rectifier 1VD1, 1C1 ay ginagamit upang mabigyan ng kapangyarihan ang bawat nangungunang key driver. Ang bawat rectifier ay pinalakas ng isang indibidwal na paikot-ikot na transpormer, na maaaring isaalang-alang bilang isang sagabal ng circuit.
Ang capacitor 1C2 ay nagbibigay ng isang key na paglilipat ng pagkaantala ng halos 100 microseconds, ang optocoupler 1U1 ay nagbibigay ng parehong halaga, sa gayon nabubuo ang nabanggit na "patay na zone".
Sapat na ang regulasyon ng dalas?
Sa isang pagbawas sa dalas ng supply alternating boltahe, ang induktibong paglaban ng mga windings ng motor ay bumaba (tandaan lamang ang inductive resistance formula), na humantong sa isang pagtaas sa kasalukuyang sa pamamagitan ng mga paikot-ikot, at, bilang isang resulta, sa sobrang pag-init ng mga paikot-ikot. Gayundin, ang stator magnetic circuit ay puspos. Upang maiwasan ang mga negatibong kahihinatnan na ito, kapag bumababa ang dalas, ang mabisang halaga ng boltahe sa mga paikot-ikot ng motor ay dapat ding mabawasan.
Ang isang paraan upang malutas ang problema sa mga amateur cototnik ay iminungkahi upang ayusin ang pinaka-epektibong halaga sa tulong ng LATR, ang maililipat na pakikipag-ugnay na kung saan ay mayroong isang mekanikal na koneksyon sa isang variable na risistor ng dalas regulator. Ang pamamaraang ito ay inirerekomenda sa artikulo ni S. Kalugin, "Pagwawakas ng bilis ng magsusupil ng tatlong-phase asynchronous motor". Journal of Radio 2002, Hindi. 3, p. 31.
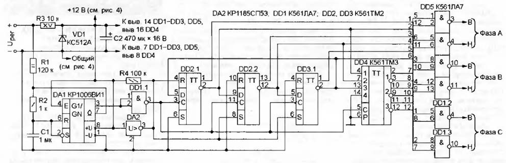
Sa mga kondisyon ng amateur, ang mekanikal na pagpupulong ay naging kumplikado at, pinaka-mahalaga, hindi maaasahan. Ang isang mas simple at mas maaasahang paraan upang magamit ang isang autotransformer ay iminungkahi ni E. Muradkhanian mula sa Yerevan sa magazine ng Radyo Blg. 12 2004. Ang isang diagram ng aparatong ito ay ipinapakita sa Mga figure 5 at 6.
Ang boltahe ng mains ng 220V ay ibinibigay sa autotransformer T1, at mula sa mailipat na pakikipag-ugnay sa tulay ng rectifier VD1 na may filter na C1, L1, C2. Sa output ng filter, ang isang variable na pare-pareho ng boltahe na Ureg ay nakuha, na ginagamit upang mabigyan ang kapangyarihan ng motor mismo.

Larawan 5
Ang boltahe Ureg sa pamamagitan ng risistor R1 ay ibinibigay din sa master oscillator DA1, na ginawa sa chip KR1006VI1 (na-import na bersyon NE555) Bilang resulta ng koneksyon na ito, ang isang maginoo na square-wave generator ay lumiliko sa isang VCO (generator na kinokontrol ng boltahe). Samakatuwid, sa isang pagtaas ng boltahe Ureg, ang dalas ng generator DA1 ay nagdaragdag din, na humantong sa isang pagtaas sa bilis ng engine. Sa pagbaba ng boltahe Ureg, ang dalas ng master oscillator ay bumababa din nang proporsyonal, na maiiwasan ang sobrang pag-init ng mga windings at ang supersaturation ng stator magnetic circuit.
Larawan 6
Sa parehong artikulo ng journal, nag-aalok ang may-akda ng isang variant ng master oscillator, na nagpapahintulot sa iyo na mapupuksa ang paggamit ng isang autotransformer. Ang generator circuit ay ipinapakita sa Figure 7.

Larawan 7
Ang generator ay ginawa sa pangalawang trigger ng DD3 chip, sa diagram na ito ay itinalaga bilang DD3.2. Ang dalas ay itinakda ng capacitor C1, ang dalas ay kinokontrol ng isang variable na risistor R2. Kasama ang kontrol ng dalas, ang tagal ng pulso sa output ng generator ay nagbabago rin: kapag ang dalas ay nabawasan, ang tagal ay bumababa, kaya ang boltahe sa mga windings ng motor ay bumaba. Ang prinsipyong kontrol na ito ay tinatawag na modyul na lapad ng pulso (PWM).
Sa amateur circuit na isinasaalang-alang, ang kapangyarihan ng engine ay maliit, ang engine ay pinalakas ng mga parihaba na pulses, kaya medyo primitive ang PWM. Sa totoo pang-industriya dalas converters mataas na kapangyarihan PWM ay dinisenyo upang makabuo ng halos sinusoidal boltahe sa output, tulad ng ipinapakita sa Figure 8, at upang ipatupad ang trabaho sa iba't ibang mga naglo-load: sa pare-pareho ang metalikang kuwintas, sa pare-pareho ang lakas at sa pag-load ng fan.

Larawan 8. Ang hugis ng output boltahe ng isang yugto ng isang three-phase inverter na may PWM.
Power bahagi ng circuit
Ang mga modernong may tatak na disiplotnik ay may output MOSFET o IGBT Power Transistorsespesyal na idinisenyo para sa pagpapatakbo sa dalas ng mga nagko-convert. Sa ilang mga kaso, ang mga transistor na ito ay pinagsama sa mga module, na sa pangkalahatan ay nagpapabuti sa pagganap ng buong istraktura. Ang mga transistor na ito ay kinokontrol gamit ang dalubhasang microcircuits ng driver. Sa ilang mga modelo, ang mga driver ay magagamit na isinama sa mga module ng transistor.
Sa kasalukuyan, ang pinakakaraniwang mga chips at transistor ay ang International Rectifier. Sa inilarawan na pamamaraan, posible na magamit ang mga driver ng IR2130 o IR2132. Sa isang kaso ng tulad ng isang maliit na tilad mayroong anim na mga driver nang sabay-sabay: tatlo para sa mas mababang key at tatlo para sa itaas, na ginagawang madali upang mag-ipon ng isang yugto ng yugto ng output ng tulay. Bilang karagdagan sa pangunahing pag-andar, ang mga drayber na ito ay naglalaman din ng ilang mga karagdagang bago, halimbawa, proteksyon laban sa mga labis na karga at mga maikling circuit. Ang mas detalyadong impormasyon tungkol sa mga driver na ito ay matatagpuan sa Data Sheet teknikal na paglalarawan para sa kani-kanilang mga chips.
Sa lahat ng mga pakinabang, ang tanging disbentaha ng mga microcircuits na ito ay ang kanilang mataas na presyo, kaya ang may-akda ng disenyo ay nagpunta ng ibang, mas simple, mas mura, at sa parehong oras na maaaring magtrabaho: ang dalubhasa sa dalubhasang microcircuits ay pinalitan ng pinagsama-samang mga timer ng chips КР1006ВИ1 (NE555).
Mga Susi ng Output sa Mga Pinagsamang Timer
Kung babalik tayo sa Larawan 6, makikita natin na ang circuit ay may mga signal ng output para sa bawat isa sa tatlong yugto, na itinalaga bilang "H" at "B". Ang pagkakaroon ng mga senyas na ito ay nagbibigay-daan sa magkakahiwalay na kontrol ng itaas at mas mababang mga susi. Ang paghihiwalay na ito ay nagbibigay-daan sa iyo upang lumikha ng isang pag-pause sa pagitan ng paglipat ng itaas at mas mababang mga susi gamit ang control unit, sa halip na ang mga susi mismo, tulad ng ipinakita sa diagram sa Larawan 3.
Ang layout ng mga output key gamit ang KR1006VI1 (NE555) microcircuits ay ipinapakita sa Larawan 9. Naturally, para sa isang three-phase converter, tatlong kopya ng naturang mga susi ang kinakailangan.
Larawan 9
Bilang mga driver ng pang-itaas (VT1) at mas mababang (VT2) na mga susi, ginagamit ang KR1006VI1 microcircuits, na kasama ayon sa iskema ng Schmidt trigger. Sa kanilang tulong, posible na makakuha ng isang pintuan ng pulso na kasalukuyang hindi bababa sa 200 mA, na ginagawang posible upang makakuha ng isang sapat na maaasahan at mabilis na kontrol ng mga transistor ng output.
Ang mga chip ng mas mababang mga key ng DA2 ay may koneksyon sa galvanic na may + 12V power supply at, nang naaayon, kasama ang control unit, kaya pinalakas ang mga ito mula sa mapagkukunang ito. Ang mga microchip ng itaas na mga key ay maaaring pinapagana sa parehong paraan tulad ng ipinakita sa Figure 3 gamit ang mga karagdagang mga rectifier at hiwalay na mga windings sa transpormer. Ngunit sa pamamaraan na ito, ginagamit ang ibang, tinatawag na "brisk" na pamamaraan ng nutrisyon, ang kahulugan ng kung saan ay ang mga sumusunod. Ang microcircuit ng DA1 ay tumatanggap ng kapangyarihan mula sa electrolytic capacitor C1, ang singil kung saan nangyayari sa pamamagitan ng circuit: + 12V, VD1, C1, isang bukas na transistor VT2 (sa pamamagitan ng mga electrodes na paagusan ay ang pinagmulan), "karaniwang".
Sa madaling salita, ang singil sa capacitor C1 ay nangyayari habang ang mas mababang key transistor ay nakabukas. Sa sandaling ito, ang minus terminal ng C1 kapasitor ay halos maiksi sa isang karaniwang kawad (ang paglaban ng bukas na kanal - ang seksyon ng mapagkukunan na mga transistor ng patlang na epekto ay libu-libo ng Ohm!), Na ginagawang posible upang singilin ito.
Sa sarado ang transistor VT2, ang diode VD1 ay magsasara din, ang singil ng kapasitor C1 ay titigil hanggang sa susunod na pagbubukas ng transistor VT2.Ngunit ang singil ng capacitor C1 ay sapat upang ma-kapangyarihan ang DA1 chip habang ang transistor VT2 ay sarado. Naturally, sa ngayon, ang transistor ng upper key ay nasa saradong estado. Ang pamamaraan na ito ng mga power key ay naging napakahusay kaya inilalapat ito nang walang mga pagbabago sa iba pang mga disenyo ng amateur.
Ang artikulong ito ay tinatalakay lamang ang pinakasimpleng mga scheme ng mga amateur na three-phase inverters sa mga microcircuits ng maliit at katamtamang antas ng pagsasama, kung saan nagsimula ang lahat, at kung saan maaari mo ring isaalang-alang ang lahat mula sa loob gamit ang circuit. Higit pang mga modernong disenyo ang ginawa gamit ang mga microcontroller, madalas na serye ng PIC, mga scheme na kung saan ay paulit-ulit na nai-publish sa mga magasin sa Radio.
Ang mga yunit ng control ng Microcontroller ayon sa pamamaraan ay mas simple kaysa sa microcircuits ng medium degree ng pagsasama, mayroon silang mga kinakailangang pag-andar bilang simulan ang makinis na makina, proteksyon laban sa mga labis na karga at mga maikling circuit at ilang iba pa. Sa mga bloke na ito, ang lahat ay ipinatutupad sa gastos ng mga programa ng kontrol o bilang sila ay tinatawag na "firmware". Ang control unit ng isang three-phase inverter ay nakasalalay nang tumpak sa mga programang ito.
Ang makatarungang simpleng mga circuit para sa mga three-phase inverter Controller ay nai-publish sa journal Radio 2008 No. 12. Ang artikulo ay tinawag na "Ang master osilator para sa isang three-phase inverter." Ang may-akda ng artikulo ay ang may-akda ng isang serye ng mga artikulo sa mga microcontroller at maraming iba pang mga disenyo. Ang artikulo ay nagtatanghal ng dalawang simpleng mga circuit sa microcontrollers PIC12F629 at PIC16F628.
Ang dalas ng pag-ikot sa parehong mga scheme ay binago nang hakbang sa tulong ng mga switch ng solong-poste, na sapat na sa maraming mga praktikal na kaso. Mayroon ding isang link kung saan maaari mong i-download ang handa na "firmware", at, bukod dito, isang espesyal na programa na maaari mong baguhin ang mga parameter ng "firmware" sa iyong pagpapasya. Posible rin ang pagpapatakbo ng mode ng generator ng "demo". Sa mode na ito, ang dalas ng generator ay nabawasan ng 32 beses, na nagbibigay-daan sa biswal na paggamit ng mga LED upang obserbahan ang pagpapatakbo ng mga generator. Nagbibigay din ito ng mga rekomendasyon para sa pagkonekta sa power unit.
Ngunit, kung hindi mo nais na makisali sa programming ng microcontroller, pinakawalan ng Motorola ang isang dalubhasang intelihenteng tagapamahala MC3PHAC, na idinisenyo para sa mga sistema ng kontrol ng motor na 3-phase. Sa batayan nito, posible na lumikha ng murang mga sistema ng isang adjustable three-phase drive na naglalaman ng lahat ng mga kinakailangang pag-andar para sa kontrol at proteksyon. Ang ganitong mga microcontroller ay lalong ginagamit sa iba't ibang mga gamit sa sambahayan, halimbawa, sa mga makinang panghugas o refrigerator.
Kumpleto sa MC3PHAC magsusupil posible na gumamit ng mga module ng kapangyarihan ng off-the-shelf, halimbawa IRAMS10UP60A na binuo ng International Rectifier. Ang mga module ay naglalaman ng anim na switch ng kuryente at isang control circuit. Para sa karagdagang mga detalye sa mga elementong ito, tingnan ang kanilang dokumentasyon ng Sheet ng Data, na madaling matagpuan sa Internet.
Boris Aladyshkin
Tingnan din sa electro-tl.tomathouse.com
:




